[발명의 명칭]
Rf니들을 이용한 피부 처리장치(device for skin management using radio frequency needle)
[출원번호/일자)]
2015-0107941 (2015.07.30)
[등록번호/일자)]
2518441 (2023.03.31)
[요약]
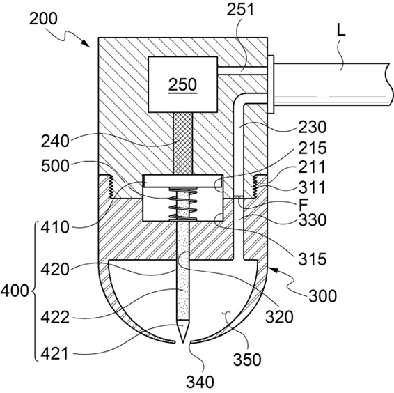
핀부, 헤드부 및 삽입부를 포함하는 RF니들; 상기 핀부가 삽입되는 관통부를 포함하며 상기 삽입부가 통과 가능한 통공이 일단에 구비되는 홀더; 및 상기 홀더의 타단에 착탈가능하게 결합되며, 상기 헤드부에 RF신호 및 압력을 제공하는 핸드피스를 포함하되, 상기 홀더 외부에서 상기 홀더를 경유하여 상기 홀더 내부를 향하는 흡인력이 선택적으로 인가되는 RF니들을 이용한 피부 처리장치가 개시된다.
[대표도면]
