[발명의 명칭]
고압 가스용기용 밸브 장치(valve device for high pressure gas container)
[출원번호/일자)]
2021-0096345 (2021.07.22)
[등록번호/일자)]
2531981 (2023.05.09)
[요약]
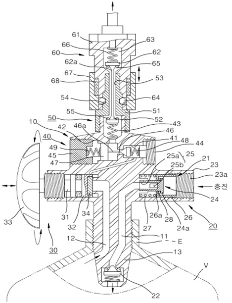
본 발명은 충전유로와 토출유로를 각각 갖는 밸브 바디; 충전유로의 입구 쪽에 구비되어 가스 충전수단의 연결에 의해 개방되는 퀵 밸브와, 충전유로의 출구 쪽에 구비되어 충전되는 가스압에 의해 개방되는 첵 밸브를 포함하는 충전부; 토출유로를 따라 이동하는 고압의 가스 압력을 기설정된 저압으로 감압시키는 감압부; 및 토출유로의 출구 쪽에 구비되어 감압부를 통과한 저압 가스의 토출을 단속하고, 가스 공급장치와 원터치(one touch)로 연결되어 개방되는 퀵 커넥팅 토출부;를 포함하는 것을 특징으로 하는 고압 가스용기용 밸브 장치를 제공한다.
[대표도면]
