성공사례
 

[발명의 명칭]

자기변형원리를 이용한 초음파 방식의 온도 측정 장치 및 그의 측정 방법(ultrasonic temperature sensing apparatus of using magnetostrictive principle and sensing method thereof)

[출원번호/일자)]

2021-0103908 (2021.08.06)

[등록번호/일자)]

2630204 (2024.01.23)

 

[요약]

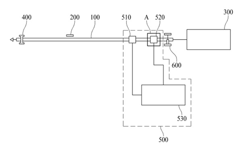
초음파 도파로로 사용되는 자기변형 와이어; 상기 와이어의 길이 방향 중 어느 일 위치에 고정 배치되는 반사지점부; 상기 와이어의 일단에 배치되며, 상기 와이어에 펄스 전류를 인가하여 상기 와어어의 주변에 상기 와이어에 대한 원주 방향의 제2자기장을 제공하는 펄스송신부; 상기 와이어의 타측에 배치되어, 상기 와이어를 고정시키는 와이어고정부; 및 상기 와이어를 따라 상기 제2자기장이 이동하여 상기 반사지점부와 만나는 지점에서 제3자기장이 형성되면, 상기 제3자기장에 의한 변화를 검출하는 제1센싱코일부를 통해 상기 반사지점부의 온도를 측정하는 수신유닛;을 포함하는 자기변형원리를 이용한 초음파 방식의 온도 측정 장치를 제공한다.

 

[대표도면]

image.png

 

[상세보기]

상담신청

의뢰인의 권익을 위해 항상 노력하겠습니다.

*성함
*연락처
*상담내용
사진 및 파일 첨부

여기에 파일을 끌어 놓거나 왼쪽의 버튼을 클릭하세요.

파일 용량 제한 : 0MB (허용 확장자 : *.*)

0개 첨부 됨 ( / )
상담내용을 입력해 주세요.