[발명의 명칭]
환원제의 재순환이 가능한 네오디뮴 산화물 열환원 장치(neodymium oxide thermal reduction apparatus with recurculation of reducing agent)
[출원번호/일자)]
2021-0112691 (2021.08.25)
[등록번호/일자)]
2555282 (2023.07.10)
[요약]
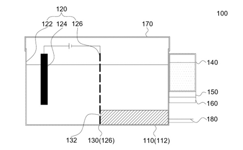
환원제 재순환 가능한 네오디뮴 산화물 열환원 장치가 개시된다. 본 발명의 일 측면에 따르면, 네오디뮴 산화물 및 환원제가 투입되어 네오디뮴 산화물을 열환원하는 열환원 유닛, 열환원 과정에서 산화된 환원제를 열환원 유닛으로부터 제공받아 다시 환원시켜 열환원 유닛으로 재순환시키는 환원제 재순환 유닛 및 네오디뮴 산화물로부터 환원되어 산출되는 네오디뮴과 공융합금을 형성하는 합금 소재 금속을 열환원 유닛에 공급하는 금속 공급 유닛을 포함하는 네오디뮴 산화물 열환원 장치가 제공된다.
[대표도면]
