[발명의 명칭]
자세 불균형 예방 및 교정 시스템(posture imbalance preventing and correction system)
[출원번호/일자)]
2021-0113521 (2021.08.26)
[등록번호/일자)]
2590350 (2023.10.12)
[요약]
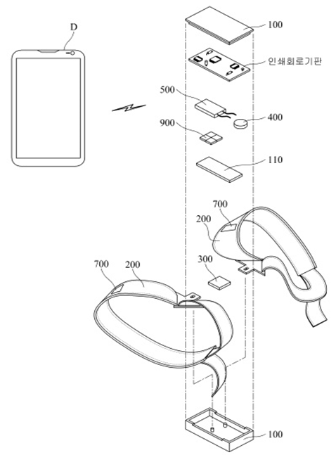
시트(sheet) 형태의 본체부; 상기 본체부에 결합되며, 사용자의 상반신과 양 어깨를 통해 상기 본체부가 사용자의 등 부분에 밀착되도록 탄성 재질로 형성되는 밴드부; 및 상기 밴드부에 결합되어, 사용자의 양 어깨 움직임에 따른 상기 밴드부의 인장력을 측정하는 제1센서부;를 포함하고, 상기 본체부는, 사용자의 상반신에 대한 기울어짐 각도를 측정하는 제2센서부; 상기 제1센서부 및 상기 제2센서부와 전기적으로 연결되어 측정값에 따른 제어신호를 생성하는 제어부; 및 미리 설정되는 적어도 하나 이상의 외부디바이스와 무선 통신하며, 상기 측정값과 상기 제어신호를 전송하는 통신모듈;을 포함하는 자세 불균형 예방 및 교정 시스템을 제공한다.
[대표도면]
