성공사례
 

[발명의 명칭]

자기변형원리를 이용한 초음파 방식의 위치 및 온도 측정 장치 그리고, 그의 방법(ultrasonic position and temperature sensing apparatus of using magnetostrictive principle and sensing method thereof)

[출원번호/일자)]

2021-0118762 (2021.09.07)

[등록번호/일자)]

2766303 (2025.02.06)

 

[요약]

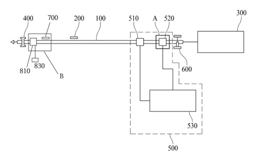
초음파 도파로로 사용되는 자기변형 와이어; 상기 와이어로부터 일정 거리를 유지한 채 이동 가능하며, 상기 와이어에 대한 축 방향의 제1자기장을 제공하는 이동형마그네틱부; 상기 와이어의 일단에 배치되며, 상기 와이어에 펄스 전류를 인가하여 상기 와이어에 대한 원주 방향의 제2자기장을 제공하는 송신부; 상기 와이어의 타단에 배치되어, 상기 와이어를 고정시키는 와이어고정부; 상기 와이어를 따라 상기 제2자기장이 이동하여 상기 제1자기장과 만나는 지점에서 나선형 제3자기장이 형성되면, 상기 제3자기장에 의한 변화를 검출하는 제1센싱코일부를 통해 상기 이동형마그네틱부의 위치를 측정하는 위치측정용수신유닛; 상기 와이어고정부 부근에 제1측정불감대영역이 형성되고, 상기 제1측정불감대영역에 배치되는 상기 와이어의 어느 일 위치에 고정되어, 상기 와이어에 대한 축 방향의 제4자기장을 제공하는 고정형마그네틱부; 및 상기 와이어를 따라 상기 제2자기장이 이동하여 상기 제4자기장과 만나는 지점에서 나선형 제5자기장이 형성되면, 상기 제5자기장에 의한 변화를 검출하는 온도센싱코일부를 통해 피측정대상의 온도를 측정하는 온도측정용수신유닛;을 포함하는 자기변형원리를 이용한 초음파 방식의 위치 및 온도 동시 측정 장치를 제공한다.

 

[대표도면]

image.png

 

[상세보기]

상담신청

의뢰인의 권익을 위해 항상 노력하겠습니다.

*성함
*연락처
*상담내용
사진 및 파일 첨부

여기에 파일을 끌어 놓거나 왼쪽의 버튼을 클릭하세요.

파일 용량 제한 : 0MB (허용 확장자 : *.*)

0개 첨부 됨 ( / )
상담내용을 입력해 주세요.