[발명의 명칭]
휴대 기기 그립 장치(grip apparatus for portable device)
[출원번호/일자)]
2021-0120017 (2021.09.08)
[등록번호/일자)]
2671226 (2024.05.28)
[요약]
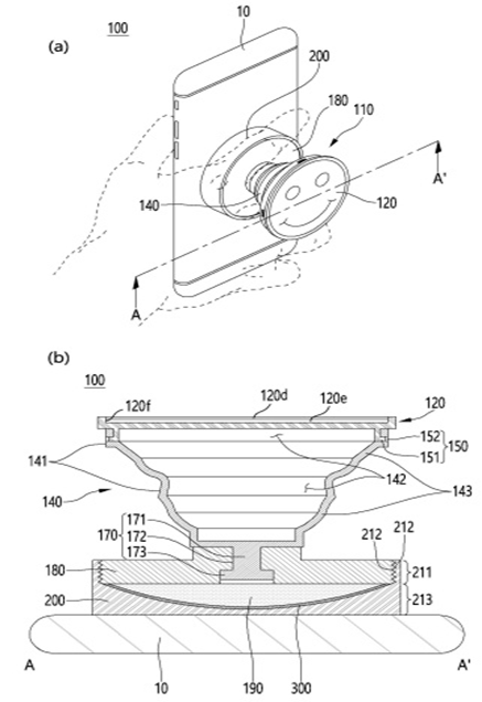
휴대 기기 그립 장치가 개시된다. 본 발명의 일 측면에 따르면, 휴대 기기의 거치 및 파지를 위한 구조를 형성 가능한 그립 유닛, 그립 유닛과 결합되어 그립 유닛을 휴대 기기에 지지시키는 지지 유닛, 지지 유닛의 단부에 결합되고 오염을 닦아낼 수 있는 재질로 형성되는 클리너, 및 휴대 기기와 결합되어 지지 유닛과 탈착 가능하게 결합되는 결합 유닛을 포함하는 휴대 기기 그립 장치가 제공된다.
[대표도면]
