[발명의 명칭]
크레인용 후크 지지 장치(supporting apparatus for crane hook)
[출원번호/일자)]
2021-0131151 (2021.10.01)
[등록번호/일자)]
2677074 (2024.06.17)
[요약]
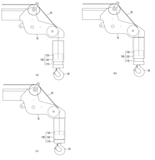
본 발명의 일 측면에 따르면, 크레인 붐에 인출입 가능하게 연결된 와이어의 단부에 후크를 결합하기 위한 후크 블록, 와이어에 이동 가능하게 설치되고, 단부에 후크 블록이 슬라이딩 이동 가능하게 결합되는 블록 지지대 및 후크 블록과 블록 지지대 사이에 개재되어, 와이어의 인입에 따라 크레인 붐에 블록 지지대가 지지된 이후 후크 블록이 블록 지지대에 대해 슬라이딩 이동함에 의해 압축되어 후크 블록을 지지하는 탄성 부재를 포함하는 크레인용 후크 지지 장치가 제공된다.
[대표도면]
