성공사례
 

[발명의 명칭]

도로 포장용 조립식 모듈러 유닛 및 이를 포함하는 도로 포장용 구조체(assembly for moduler unit pavement of road and structure thereof)

[출원번호/일자)]

2021-0134914 (2021.10.12)

[등록번호/일자)]

2552591 (2023.07.03)

 

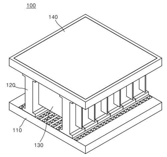
[요약]

본 발명은, 지면을 지지하고 소정의 간격으로 복수의 결합돌기가 돌출 형성되는 베이스부, 상기 베이스부 상부에 소정의 간격으로 배치되되, 상기 결합돌기에 결합되는 결합홈이 형성되고, 적어도 일부에 슬라이드 홀이 형성되는 복수의 수직 연결바, 상기 수직 연결바에 결합되고 상기 베이스부에 평행하게 배치되는 커버부 및 상기 슬라이드 홀에 삽입되는 삽입 플레이트부를 포함하는 도로 포장용 조립식 모듈러 유닛 및 이를 포함하는 도로 포장용 구조체를 제공한다.

 

[대표도면]

image.png

 

[상세보기]

상담신청

의뢰인의 권익을 위해 항상 노력하겠습니다.

*성함
*연락처
*상담내용
사진 및 파일 첨부

여기에 파일을 끌어 놓거나 왼쪽의 버튼을 클릭하세요.

파일 용량 제한 : 0MB (허용 확장자 : *.*)

0개 첨부 됨 ( / )
상담내용을 입력해 주세요.