[발명의 명칭]
군집시설의 공기질 개선 모듈(air quality improvenent module for cluster facility)
[출원번호/일자)]
2021-0150340 (2021.11.04)
[등록번호/일자)]
2590766 (2023.10.13)
[요약]
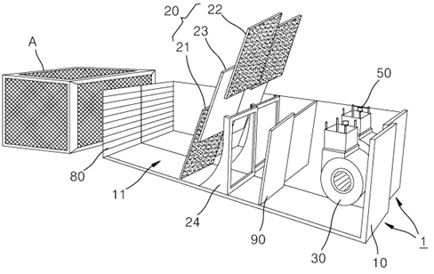
본 발명은 군집시설의 공기질 개선 모듈에 관한 것으로서, 공기통로를 가지고 공조기(AHU)의 급기측에 연결되는 하우징; 제1 및 제2 필터와, 이 제1 및 제2 필터 간에 위치하여 제1 및 제2 필터에 양전하를 충진시키는 플라즈마 발생장치를 포함하고, 하우징의 공기통로를 지나는 공기중의 유해물질을 제거하는 플라즈마 융합필터; 및 플라즈마 융합필터 후방에서 상기 공기통로에 기류를 형성하는 송풍수단;을 포함하는 것을 특징으로 한다.
[대표도면]
