성공사례
 

[발명의 명칭]

각도 조절이 가능한 색보정 증거물 표식(angle-adjustable color correction evidence maeker)

[출원번호/일자)]

2021-0156097 (2021.11.12)

[등록번호/일자)]

2523208 (2023.04.14)

 

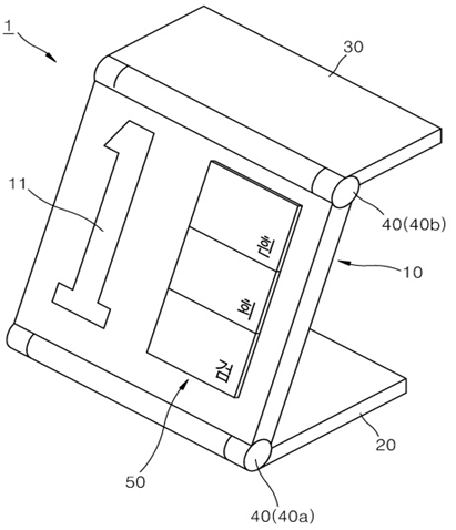
[요약]

본 발명은 각도 조절이 가능한 색보정 증거물 표식에 관한 것으로, 적어도 한쪽 면에 증거물 식별부호를 갖는 본체부; 이 본체부의 하단에 연결되어 본체부를 세워서 지지해주는 받침부; 본체부의 상단에 연결되고, 본체부의 식별부호 표시면에 비춰지는 조명의 광량을 조절하는 어닝(earning)부; 본체부를 받침부 및 어닝부에 대해 각각 상대 회전 및 각도 조절 가능하게 연결해주는 복수의 회전 및 각도 조절수단; 및 본체부의 증거물 식별부호 표시면에 구비되고, 모든 광선 조건에서 동일한 색 특성을 갖는 완전 중성 농도의 색 보정 기준부;를 포함하는 것을 특징으로 한다.

 

[대표도면]

image.png

 

[상세보기]

상담신청

의뢰인의 권익을 위해 항상 노력하겠습니다.

*성함
*연락처
*상담내용
사진 및 파일 첨부

여기에 파일을 끌어 놓거나 왼쪽의 버튼을 클릭하세요.

파일 용량 제한 : 0MB (허용 확장자 : *.*)

0개 첨부 됨 ( / )
상담내용을 입력해 주세요.