성공사례
 

[발명의 명칭]

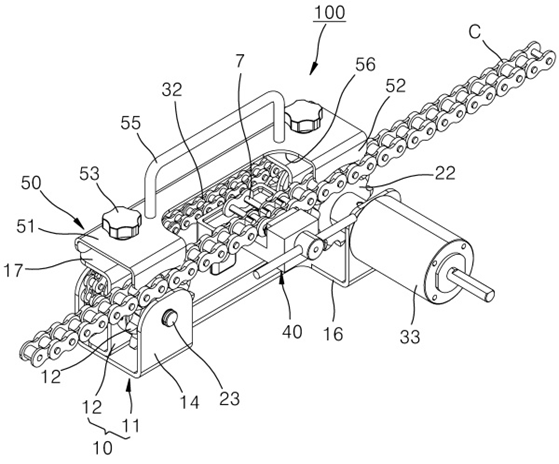
체인 교체 장치(device for changing the chain)

[출원번호/일자)]

2021-0157667 (2021.11.16)

[등록번호/일자)]

2622146 (2024.01.03)

 

[요약]

본 발명은 체인 교체 장치에 관한 것으로, 프레임; 이 프레임에 롤러 체인의 순환방향으로 이격 설치되고, 교체할 롤러 체인의 임의의 두 지점에 각각 맞물려 연동하는 한 쌍의 제1 스프로킷휠; 이 제1 스프로킷휠을 회전시키는 체인구동유닛; 및 한 쌍의 제1 스프로킷휠 사이에 위치하도록 프레임에 장착되고, 교체할 롤러 체인으로부터 체인핀을 분리시키는 핀 분리 지그유닛;을 포함하는 것을 특징으로 한다.

 

[대표도면]

 

image.png

[상세보기]

상담신청

의뢰인의 권익을 위해 항상 노력하겠습니다.

*성함
*연락처
*상담내용
사진 및 파일 첨부

여기에 파일을 끌어 놓거나 왼쪽의 버튼을 클릭하세요.

파일 용량 제한 : 0MB (허용 확장자 : *.*)

0개 첨부 됨 ( / )
상담내용을 입력해 주세요.