성공사례
 

[발명의 명칭]

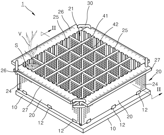
뿌리식물 재배 용기(root plant cultivation container)

[출원번호/일자)]

2021-0164110 (2021.11.25)

[등록번호/일자)]

2747870 (2024.12.24)

 

[요약]

본 발명은 뿌리식물 재배용기에 관한 것으로, 내부에 관통슬롯을 갖는 사각틀 모양의 베이스 프레임; 이 베이스 프레임의 각 변부에 하단이 회동 가능하게 결합되고, 내측면에 세로방향으로 형성되는 다수의 배플(baffle)홈을 가로방향을 따라 일정 간격으로 갖는 복수의 측판; 각 측판을 수직한 상태로 고정하고, 고정해제 할 수 있는 측판 고정수단; 및 대향하는 두 측판들의 배플홈에 양단이 끼워져, 각 측판들이 형성하는 내부공간을 격자상으로 구획하여 다수의 재배공간을 형성해 주는 다수의 칸막이;를 포함하는 것을 특징으로 한다.

 

[대표도면]

image.png

 

[상세보기]

상담신청

의뢰인의 권익을 위해 항상 노력하겠습니다.

*성함
*연락처
*상담내용
사진 및 파일 첨부

여기에 파일을 끌어 놓거나 왼쪽의 버튼을 클릭하세요.

파일 용량 제한 : 0MB (허용 확장자 : *.*)

0개 첨부 됨 ( / )
상담내용을 입력해 주세요.