[발명의 명칭]
접이식 휴대폰 거치대(foldable phone holder)
[출원번호/일자)]
2021-0174781 (2021.12.08)
[등록번호/일자)]
2507974 (2023.03.06)
[요약]
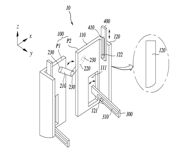
본 발명은 사용시에는 펼쳐서 휴대폰 또는 태블릿을 거치할 수 있고, 사용하지 않을 때에는 컴팩트하게 접어서 휴대 보관할 수 있으며, 자유자재로 폭과 각도, 높이를 조절할 수 있는 접이식 휴대폰 거치대에 관한 것으로, 본 발명의 실시예에 따른 접이식 휴대폰 거치대는, 제1 방향으로 연장 형성된 제1 플레이트와 상기 제1 플레이트의 단부에서 제2 방향으로 연장 형성된 제2 플레이트를 구비하고 상기 제1 플레이트에 개구가 형성된 한 쌍의 거치 플레이트를 포함하는 거치부; 상기 한 쌍의 거치 플레이트가 서로 멀어지거나 또는 서로 포개어지도록 연결하는 연결부; 상기 제1 플레이트에 형성된 개구를 통해 상기 제2 플레이트에서 선회 가능하도록 형성된 지지부; 상기 제2 플레이트에서 수직 방향으로 이동 가능한 연장부;를 포함한다.
[대표도면]
