성공사례
 

[발명의 명칭]

자연어 질의에 따라 투자 전략을 시뮬레이션하고 조건을 만족하는 투자자산을 자동 매매하는 투자 장치 및 이를 이용한 투자 방법(apparatus simulating investment strategies from natural language queries and automatically trading investment assets that satisfy conditions and investing method using the same)

[출원번호/일자)]

2021-0184198 (2021.12.21)

[등록번호/일자)]

2565201 (2023.08.04)

 

[요약]

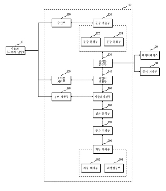
자연어 질의에 따라 투자 전략을 시뮬레이션하고 조건을 만족하는 투자자산을 자동 매매하는 투자 장치 및 이를 이용한 투자 방법이 개시된다. 본 발명의 일 측면에 따르면, 사용자로부터 자연어를 입력받는 수신부, 자연어를 분할하여 투자 전략 지시문 및 투자자산 검색문을 추출하는 문장 추출부, 투자 전략 지시문 및 투자자산 검색문을 프로그래밍 언어로 변환하는 자연어 변환부, 프로그래밍 언어로 변환된 투자 전략 지시문 및 투자자산 검색문을 통하여 투자 전략을 시뮬레이션하는 시뮬레이션부, 및 투자 전략의 시뮬레이션의 결과를 기초로 추천 투자자산을 결정하여 사용자에게 제공하는 정보 제공부를 포함하는 자연어 질의에 따른 투자 장치가 제공된다.

 

[대표도면]

image.png

 

[상세보기]

상담신청

의뢰인의 권익을 위해 항상 노력하겠습니다.

*성함
*연락처
*상담내용
사진 및 파일 첨부

여기에 파일을 끌어 놓거나 왼쪽의 버튼을 클릭하세요.

파일 용량 제한 : 0MB (허용 확장자 : *.*)

0개 첨부 됨 ( / )
상담내용을 입력해 주세요.