성공사례
 

[발명의 명칭]

세탁물 수거 및 배달 서비스를 위한 용도 변형 가방(transformable luggage bag for collection and delivery of laundry)

[출원번호/일자)]

2022-0000124 (2022.01.17)

[등록번호/일자)]

0497221 (2023.08.29)

 

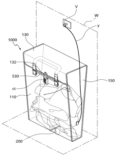
[요약]

상측 개구면은 후면에서 연장되는 덮개면에 의해 개폐되며, 하측 바닥면은 지퍼부에 의해 개폐되는 본체를 포함하고, 상기 지퍼부는 상기 바닥면의 폭 방향과 나란하게 형성되는 한 쌍의 지퍼테이프; 및 상기 지퍼테이프에 결합되어, 상기 지퍼테이프를 개폐시키는 적어도 하나 이상의 슬라이더;를 포함하는 세탁물 수거 및 배달 서비스를 위한 용도 변형 가방을 제공하고자 한다.

 

[대표도면]

image.png

 

[상세보기]

상담신청

의뢰인의 권익을 위해 항상 노력하겠습니다.

*성함
*연락처
*상담내용
사진 및 파일 첨부

여기에 파일을 끌어 놓거나 왼쪽의 버튼을 클릭하세요.

파일 용량 제한 : 0MB (허용 확장자 : *.*)

0개 첨부 됨 ( / )
상담내용을 입력해 주세요.