[발명의 명칭]
텀블러용 세척기의 노즐 배치 구조(arrangement structure of nozzle for tumbler washer)
[출원번호/일자)]
2022-0068992 (2022.06.07)
[등록번호/일자)]
2544165 (2023.06.12)
[요약]
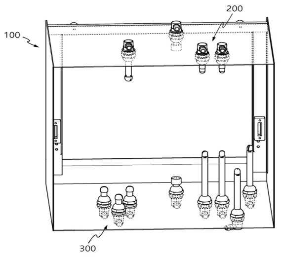
본체부; 상기 본체부의 상면 내측에 배치되는 복수 개의 노즐부로 구성되되, 적어도 일 측으로 편중되어 배치되는 상부노즐유닛; 및 상기 본체부의 바닥면에 배치되는 복수 개의 노즐부로 구성되되, 상기 상부노즐유닛의 위치와 엇갈리도록 배치되는 하부노즐유닛;를 포함하는 텀블러용 세척기의 노즐 배치 구조를 제공한다.
[대표도면]
