[발명의 명칭]
텀블러 세척기용 세척 유닛(washing unit for tumbler washer)
[출원번호/일자)]
2022-0068999 (2022.06.07)
[등록번호/일자)]
2544170 (2023.06.12)
[요약]
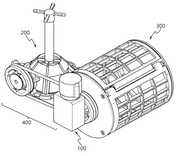
단일모터부; 세척을 위해 텀블러용 컵이 안착되도록 하는 컵세척부; 세척을 위해 텀블러용 뚜껑을 수용하는 뚜껑세척부; 및 상기 단일모터부의 구동력을 전달하여, 상기 컵세척부와 상기 뚜껑세척부가 연동하여 회전하도록 하는 동력전달부;를 포함하는 텀블러 세척기용 세척 유닛을 제공한다.
[대표도면]
