[발명의 명칭]
탈취 장치(deodorizing apparatus)
[출원번호/일자)]
2022-0106826 (2022.08.25)
[등록번호/일자)]
2811663 (2025.05.19)
[요약]
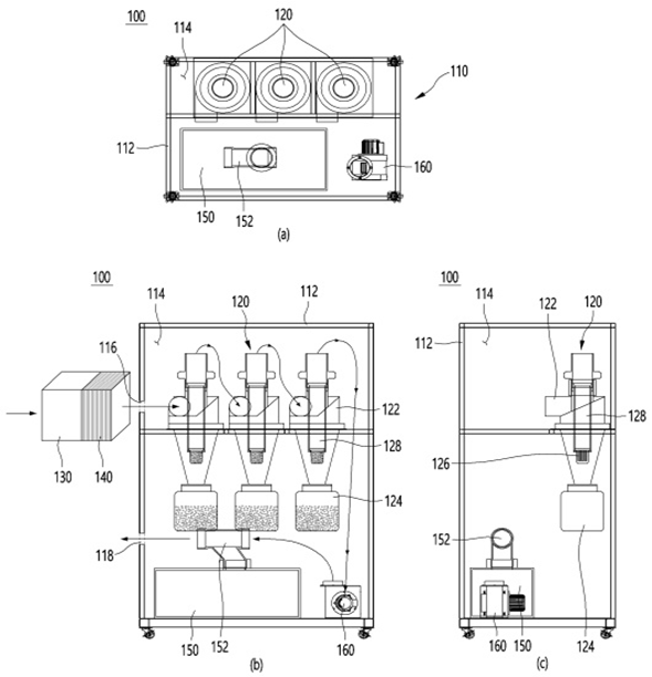
탈취 장치가 개시된다. 본 발명의 일 측면에 따르면, 내부에 수용 공간이 마련되는 하우징 본체, 악취 가스가 수용 공간으로 유입되는 유입구 및 탈취 처리된 악취 가스가 수용 공간으로부터 배출되는 배출구를 포함하는 하우징 유닛, 수용 공간에 위치하며 탈취제가 구비되는 내부 공간이 형성되고, 내부 공간을 통과하는 악취 가스와 탈취제의 접촉을 증가시키기 위해 와류를 생성하여 악취 가스를 탈취하는 와류 탈취 유닛 및 수용 공간에 위치하며 플라즈마를 이용해 악취 가스에 함유된 악취 유발 물질을 분해하여 탈취하는 플라즈마 탈취 유닛을 포함하는 탈취 장치가 제공된다.
[대표도면]
