[발명의 명칭]
레일형 회전 촬영장치(rail type rotaty shooting apparatus)
[출원번호/일자)]
2022-0113461 (2022.09.07)
[등록번호/일자)]
2548325 (2023.06.22)
[요약]
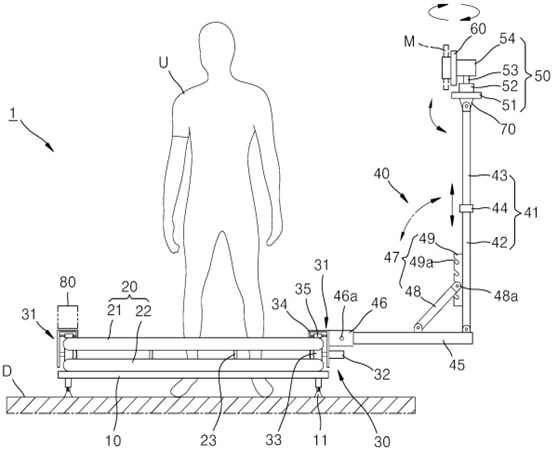
본 발명은 레일형 회전 촬영장치에 관한 것으로, 복수의 받침부재를 하부에 일정각도 간격으로 갖는 베이스 프레임(base frame); 이 베이스 프레임 상에 설치되고, 피사체의 둘레를 에워싸도록 위치하는 링형의 가이드레일(guide rail); 이 가이드레일에 장착되고, 가이드레일을 따라 회전하는 회전 주행수단; 이 회전 주행수단에 분리 가능하게 결합되고, 세로 방향으로 배치되어 카메라를 소정높이에 지지하는 카메라 거치수단; 피사체를 향하도록 카메라 거치수단에 지지되어 가이드레일을 따라 회전하는 카메라의 시점을 피사체 이외의 위치로 변경하고, 변경된 카메라 시점을 다시 초기 시점위치로 복귀시킬 수 있는 카메라 시점 변경수단; 및 회전 주행수단의 구동 및 카메라 시점 변경수단의 구동을 제어하는 제어부;를 포함하는 것을 특징으로 한다.
[대표도면]
