[발명의 명칭]
층간 소음 방지용 바닥 충격음 차단재(floor impact sound insulation material for preventing noise between floors)
[출원번호/일자)]
2022-0119278 (2022.09.21)
[등록번호/일자)]
2672446 (2024.05.31)
[요약]
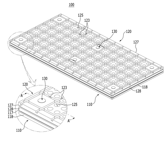
층간 소음 방지용 바닥 충격음 차단재가 개시된다. 본 발명의 일 측면에 따르면, 슬래브와 마감 모르타르 층 사이에 설치되어 층간 소음을 방지하기 위한 바닥 충격음 차단재에 있어서, EVA를 포함하는 재질로 형성되어 슬래브 상에 배치되고, 하면에서 돌출되어 슬래브와의 사이에 진동 흡수를 위한 제1 중공층을 형성하는 복수의 제1 완충 돌기를 구비하고, 제1 완충 돌기의 위치에 대응되게 상면에서 돌출되되 내측에 지지홈이 형성되는 지지 돌기를 구비하는 제1 차음 패널, 및 EPS를 포함하는 재질로 형성되어 제1 차음 패널 상에 배치되고, 하면에서 돌출되어 지지홈에 삽입됨에 따라 제1 차음 패널과의 사이에 진동 흡수를 위한 제2 중공층을 형성하는 제2 완충 돌기를 구비하고, 난방용 온수 파이프를 배치 가능하도록 상면에 형성되되 격자를 이루며 배치되는 복수의 배치홈을 구비하는 제2 차음 패널을 포함하는 층간 소음 방지용 바닥 충격음 차단재가 제공된다.
[대표도면]
