성공사례
 

[발명의 명칭]

신속 dna 분석장치 휴대용 케이스(case for carrying rapid dna analyzer)

[출원번호/일자)]

2022-0126804 (2022.10.05)

[등록번호/일자)]

2782999 (2025.03.12)

 

[요약]

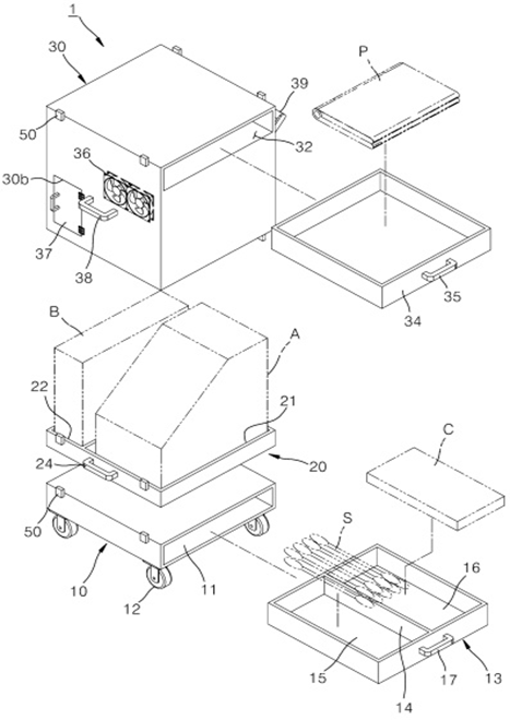
본 발명은 신속 DNA 분석장치 휴대용 케이스에 관한 것으로, DNA 분석용 시료 채취 도구 및 분석용 시약을 수납할 수 있는 제1 서랍을 가지며, 하면에 복수의 바퀴를 구비하여 이동 가능하고, 분석용 시약의 냉장보관을 위한 냉장수단을 갖는 이동 베이스부재; 이 이동 베이스부재의 상측에 위치하고, 신속 DNA 분석기 및 신속 DNA 분석기에 전원을 공급하는 휴대용 전원 공급장치의 하단부를 각각 삽입하는 제1 및 제2 장착부를 구비하는 DNA 분석기 장착부재; 및 DNA 분석기 장착부재에 장착된 신속 DNA 분석기 및 휴대용 전원 공급장치를 내부에 수용하여 보호하며, 휴대용 데이터 처리장치를 수납할 수 있는 제2 서랍을 가지고 이동 베이스부재에 분리 가능하게 지지되는 커버부재;를 포함하고, 현장에서 DNA 분석작업 시 DNA 분석기 및 휴대용 전원 공급장치를 커버부재 상에 위치시키고, 제2 서랍을 열어 휴대용 데이터 처리장치를 노출시켜 진행하는 것을 특징으로 한다.

 

[대표도면]

image.png

 

[상세보기]

상담신청

의뢰인의 권익을 위해 항상 노력하겠습니다.

*성함
*연락처
*상담내용
사진 및 파일 첨부

여기에 파일을 끌어 놓거나 왼쪽의 버튼을 클릭하세요.

파일 용량 제한 : 0MB (허용 확장자 : *.*)

0개 첨부 됨 ( / )
상담내용을 입력해 주세요.