[발명의 명칭]
가변형 멀티 총기 홀스터(variable multi-gun holster)
[출원번호/일자)]
2022-0126802 (2022.10.05)
[등록번호/일자)]
2558414 (2023.07.18)
[요약]
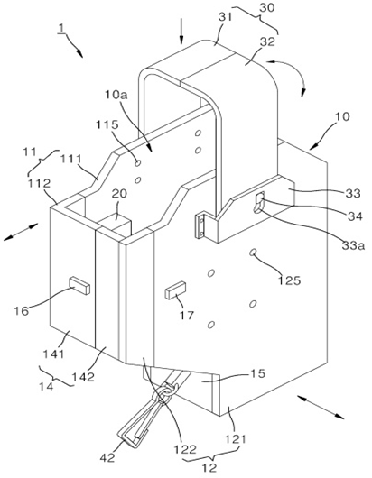
본 발명은 가변형 멀티 총기 홀스터에 관한 것으로, 내부에 총기 수납공간을 형성하는 제1, 제2, 제3 및 제4 측판을 포함하고, 서로 대향하는 제1 및 제2 측판 간의 간격 및 제3 및 제4 측판 간의 간격이 조절 가능한 바디; 제1 및 제2 측판 간의 간격 및 제3 및 제4 측판 간의 간격을 각각 확장 및 축소 상태로 고정하는 제1 및 제2의 잠금수단; 제4 측판의 내측면에 구비되고, 수납공간에 수납된 총기의 방아쇠울 또는 손잡이의 전단부를 받쳐주는 받침부재; 및 바디의 제1 및 제2 측판에 양단이 회동 가능하게 지지되어 수납공간에 수납된 총기의 이탈을 방지하는 커버;를 포함하는 것을 특징으로 한다.
[대표도면]
