성공사례
 

[발명의 명칭]

P형 수신기의 비화재보 처리시스템(non-fire alarm processing system of p-type fire receiver)

[출원번호/일자)]

2022-0140820 (2022.10.28)

[등록번호/일자)]

2644624 (2024.03.04)

 

[요약]

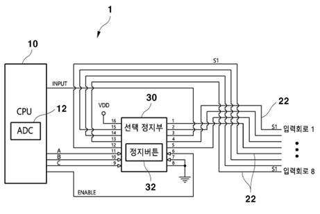
본 발명은 P형 수신기의 비화재보 처리시스템에 관한 것으로서, 더욱 상세하게는 P형 수신기의 비화재보시 해당 화재 감지기의 LED는 계속 점등(점멸)하면서 경종은 오프(OFF)시키도록 조치하는 P형 수신기의 비화재보 처리시스템에 관한 것이다. 본 발명의 실시예에 따른 P형 수신기의 비화재보 처리시스템은, 다수의 화재 감지기 및 발신기가 신호선에 병렬로 연결되고 상기 화재 감지기나 발신기 작동시 점등하는 LED를 구비하는 감시 구역; 및 상기 감시 구역의 다수와 연결되어 신호선의 전압 레벨을 감시하여 화재로 판단한 경우 경종(주경종과 지구경종 포함)을 작동하고, 경종 정지 조건이 충족되면 경종의 작동을 중지하다가 신호선의 새로운 전압 레벨을 감시하여 화재로 판단한 경우 경종을 다시 작동하는 P형 수신기; 를 포함하여 구성된다.

 

[대표도면]

image.png

 

[상세보기]

상담신청

의뢰인의 권익을 위해 항상 노력하겠습니다.

*성함
*연락처
*상담내용
사진 및 파일 첨부

여기에 파일을 끌어 놓거나 왼쪽의 버튼을 클릭하세요.

파일 용량 제한 : 0MB (허용 확장자 : *.*)

0개 첨부 됨 ( / )
상담내용을 입력해 주세요.