[발명의 명칭]
양봉용 급수기(water dispenser for beekeeping)
[출원번호/일자)]
2022-0140802 (2022.10.28)
[등록번호/일자)]
2849673 (2025.08.19)
[요약]
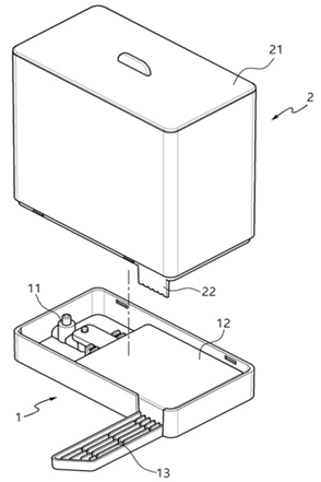
본 발명의 일 실시예에 따른 양봉용 급수기는 본체부와 본체부의 상단에 결합되며 물이 저장되는 저장부를 포함하며, 본체부는 저장부와 연결되어 물을 본체부로 공급하는 공급관부, 본체부에 배치되며 본체부 내의 수위가 미리 설정되는 수위 이하로 유지되도록 동작하는 수위조절부와 본체부의 어느 일 측면에서 외측으로 연장 형성되며 상면이 개방되어 물이 노출되는 급수부를 포함한다.
[대표도면]
