[발명의 명칭]
낙상예측장치(the fall prediction device for a body)
[출원번호/일자)]
2022-0144111 (2022.11.02)
[등록번호/일자)]
2730099 (2024.11.11)
[요약]
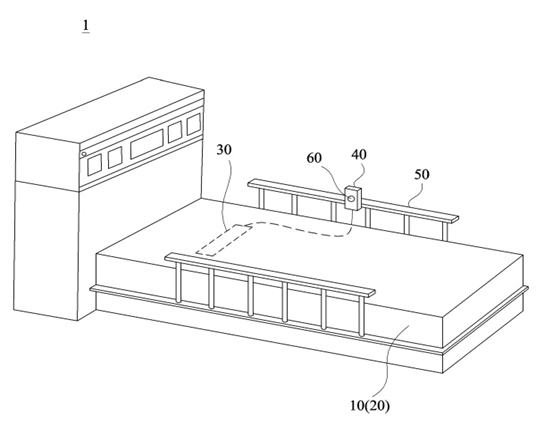
본 발명은 사람의 인체를 지지하는 제1지지판, 제1지지판의 상부에 배치되는 적어도 하나의 제2지지판, 제1지지판 및 제2지지판 중 적어도 하나에 배치된 삽입홈에 삽입된 압전센서, 및 압전센서로부터 신호를 수신하며, 수신된 신호를 처리하는 컨트롤모듈을 포함하며, 컨트롤모듈은, 압전센서로부터 수신된 신호를 기초로 제2지지판에 대한 사람의 포지션정보를 생성하는 포지션판단부, 및 포지션판단부에서 생성한 포지션정보를 디바이스기기에 제공하는 통신부를 포함하여, 제2지지판 상에 위치한 사람(환자)의 상태 및 이탈여부를 정밀하게 판단할 수 있다.
[대표도면]
