[발명의 명칭]
회전척(the rotary chuck)
[출원번호/일자)]
2022-0149859 (2022.11.10)
[등록번호/일자)]
2549005 (2023.06.23)
[요약]
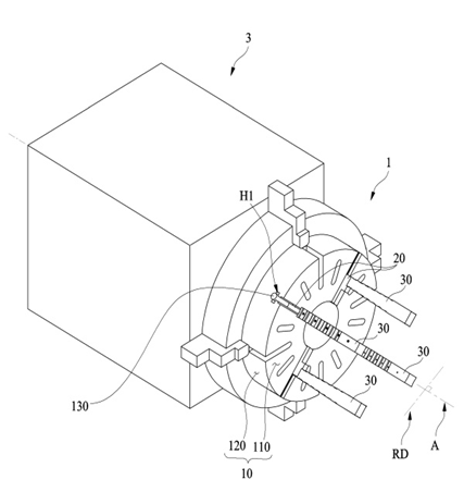
본 발명은 중심축과 삽입홈을 가지는 원형의 척 바디, 삽입홈에 삽입되어 척 바디에 결합되는 복수의 조, 및 조에 연결되며, 공작물을 파지하는 파지블록을 포함하며, 파지블록은, 조로부터 중심축을 따라 연장된 제1파지부, 및 제1파지부의 단부에 배치된 제2파지부를 포함하여, 공작물의 밸런싱 맞춤(조정) 작업이 용이하고, 떨림 현상을 억제할 수 있다.
[대표도면]
