특허
트레이용 진공성형금형의 적층 스토퍼 성형유닛(lamination stopper forming unit of vacuum forming mold for tray)
- 날짜 : 2026.01.16 10:35
[발명의 명칭]
트레이용 진공성형금형의 적층 스토퍼 성형유닛(lamination stopper forming unit of vacuum forming mold for tray)
[출원번호/일자)]
2022-0149235 (2022.11.10)
[등록번호/일자)]
2551878 (2023.06.30)
[요약]
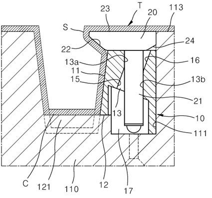
본 발명은 트레이용 진공성형금형의 적층 스토퍼 성형유닛에 관한 것으로, 시트상의 플라스틱 원단을 진공 흡착하여 트레이를 성형하는 진공성형금형의 제품포켓 성형부에 매립되도록 설치되고, 제1 방향(세로방향)으로 작동구멍을 갖는 바디; 및 이 바디의 상면에 탑재되어 한쪽 단부가 제1 방향과 직교하는 제2 방향(가로방향)의 일측으로 돌출하고, 하면에 작동구멍에 삽입되는 결합지지부를 구비하며, 돌출된 단부에 제1 경사면을 하향 경사지게 구비하여 트레이에 적층 스토퍼를 성형하는 코어부재;를 포함하고, 코어부재는 성형된 트레이의 취출 시 제1 방향으로 소정 높이 상승 후 제2 방향의 타측을 향해 소정각도 회동하여 적층 스토퍼로부터 이탈한 다음, 자중에 의해 초기 위치로 복귀하는 것을 특징으로 한다.
[대표도면]
