성공사례
 

[발명의 명칭]

금형 데이터 관리 시스템(the molding data processing system)

[출원번호/일자)]

2022-0161494 (2022.11.28)

[등록번호/일자)]

2833996 (2025.07.09)

 

[요약]

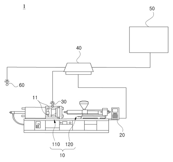
본 발명은 제1금형을 지지하는 고정형판과 제2금형을 지지하는 이동형판을 포함하는 금형부, 및 금형부에 용융수지를 공급하는 사출부를 포함하는 사출성형기, 사출조건데이터를 통해 사출성형기의 동작을 제어하는 사출제어기, 제1금형 및 제2금형 중 적어도 하나에 배치되어, 금형온도데이터를 측정하는 금형온도센서, 사출제어기 및 금형온도센서로부터 데이터를 수신하는 데이터취득기, 및 데이터취득기로부터 사출조건데이터 및 금형온도데이터를 포함하는 분석대상데이터를 제공받는 플랫폼서버를 포함하며, 데이터취득기는, 금형온도데이터를 수신하는 금형온도수신부, 사출조건데이터를 수신하는 사출조건수신부, 및 플랫폼서버와 통신하는 통신부를 포함하여, 사출성형에 대한 품질을 정밀하게 예측하여 불량을 방지할 수 있다.

 

[대표도면]

image.png

 

[상세보기]

상담신청

의뢰인의 권익을 위해 항상 노력하겠습니다.

*성함
*연락처
*상담내용
사진 및 파일 첨부

여기에 파일을 끌어 놓거나 왼쪽의 버튼을 클릭하세요.

파일 용량 제한 : 0MB (허용 확장자 : *.*)

0개 첨부 됨 ( / )
상담내용을 입력해 주세요.