성공사례
 
특허

소음기(the noise suppresser)

  • 날짜 : 2026.01.16 10:42

[발명의 명칭]

소음기(the noise suppresser)

[출원번호/일자)]

2023-0003760 (2023.01.10)

[등록번호/일자)]

2840958 (2025.07.28)

 

[요약]

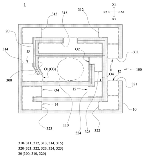
본 발명은 공기유입구와 공기유출구를 가지는 하우징, 및 하우징의 내부에 배치되며, 공기유입구에서 공기유출구로 이어지는 공기유동덕트를 정의하는 격벽을 포함하며, 공기유동덕트는, 공기유출구로 연통되는 팽창덕트, 공기유입구에서 유입된 공기를 제1경로를 따라 팽창덕트로 유동시키는 제1경로덕트, 및 공기유입구에서 유입된 공기를 제1경로와 다른 제2경로를 따라 팽창덕트로 유동시키는 제2경로덕트를 포함하여, 소음 저감 성능을 개선할 수 있다.

 

[대표도면]

image.png

 

[상세보기]

상담신청

의뢰인의 권익을 위해 항상 노력하겠습니다.

*성함
*연락처
*상담내용
사진 및 파일 첨부

여기에 파일을 끌어 놓거나 왼쪽의 버튼을 클릭하세요.

파일 용량 제한 : 0MB (허용 확장자 : *.*)

0개 첨부 됨 ( / )
상담내용을 입력해 주세요.