[발명의 명칭]
퓨즈 홀더 장치 및 이를 구비하는 기판 장치(apparatus for holding fuse and circuit board apparatus having the same)
[출원번호/일자)]
2023-0000139 (2023.01.20)
[등록번호/일자)]
0498498 (2024.11.01)
[요약]
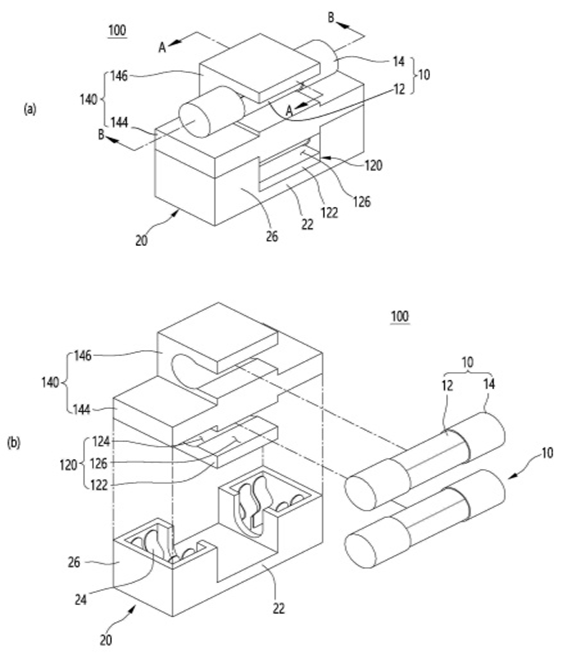
퓨즈 홀더 장치가 개시된다. 본 고안의 일 측면에 따르면, 퓨즈(fuse)를 파지하여 기판에 설치된 퓨즈 커넥터에 탈착 가능한 장치에 있어서, 퓨즈를 파지 가능하고, 퓨즈를 파지한 상태에서 퓨즈 커넥터로 가압되어 삽입됨으로써 퓨즈를 퓨즈 커넥터에 결합시키는 홀딩부, 및 홀딩부와 연결되고, 홀딩부에 파지된 퓨즈와 퓨즈 커넥터의 탈착을 위해 가압 가능한 그립부를 포함하는 퓨즈 홀더 장치가 제공된다.
[대표도면]
