[발명의 명칭]
옹벽용 배수관 세트 및 그 제조 방법(drainage pipe set for retaining wall and method for manufacturing the same)
[출원번호/일자)]
2023-0021990 (2023.02.20)
[등록번호/일자)]
2646221 (2024.03.06)
[요약]
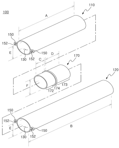
옹벽용 배수관 세트가 개시된다. 본 발명의 일 측면에 따르면, 콘크리트 옹벽에 매립 설치되되, 조합에 따라 복수의 옹벽 두께에 대응되는 길이를 형성 가능한 옹벽용 배수관 세트에 있어서, 제1 길이만큼 연장되어 단독으로 옹벽 두께에 대응되는 길이를 형성 가능한 제1 배수관 유닛, 제1 길이와 상이한 제2 길이만큼 연장되어 단독으로 옹벽 두께에 대응되는 길이를 형성 가능한 제2 배수관 유닛, 및 제1 길이 및 제2 길이보다 짧은 제3 길이만큼 연장되어 제1 배수관 유닛 및 제2 배수관 유닛 각각과 결합 가능하게 형성되되, 제1 배수관 유닛 또는 제2 배수관 유닛의 단부에 결합되는 경우 1 배수관 유닛 또는 제2 배수관 유닛과 함께 옹벽 두께에 대응되는 길이를 형성 가능하고, 2개의 제1 배수관 유닛 또는 2개의 제2 배수관 유닛과 결합되어 상호 연결하는 경우 제1 배수관 유닛 또는 제2 배수관 유닛과 함께 옹벽 두께에 대응되는 길이를 형성 가능하고, 제1 배수관 유닛 및 제2 배수관 유닛과 결합되어 상호 연결하는 경우 1 배수관 유닛 및 제2 배수관 유닛과 함께 옹벽 두께에 대응되는 길이를 형성 가능한 연결 배수관 유닛을 포함하는 옹벽용 배수관 세트가 제공된다.
[대표도면]
