[발명의 명칭]
굴삭기용 회전 암(rotary arm for excavator)
[출원번호/일자)]
2023-0024787 (2023.02.24)
[등록번호/일자)]
2761088 (2025.01.23)
[요약]
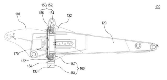
굴삭기용 회전 암이 개시된다. 본 발명의 일 측면에 따르면, 차체에 회전 가능하게 결합된 붐 유닛의 단부로부터 회전 가능하도록 일측이 붐 유닛의 단부에 결합되는 제1 암 부재, 제1 암 부재의 길이 방향 축을 중심으로 회전 가능하도록 일측이 제1 암 부재의 타측에 결합되고, 타측에 버켓 유닛이 회전 가능하게 결합되는 제2 암 부재, 제1 암 부재 및 제2 암 부재 사이에 개재되어 제2 암 부재를 제1 암 부재에 회전 가능하게 결합시키는 연결 유닛 및 제2 암 부재에 결합되어 제2 암 부재를 회전시키는 제1 암 구동 유닛을 포함하고, 제1 암 구동 유닛은 버켓 유닛을 회전시키는 버켓 구동 유닛과 간섭이 방지되도록 버켓 구동 유닛과 이격되도록 제2 암 부재에 설치되는, 굴삭기용 회전 암이 제공된다.
[대표도면]
