성공사례
 

[발명의 명칭]

도로 안전 시설물 결합 장치(apparatus for road safety features combination)

[출원번호/일자)]

2023-0033358 (2023.03.14)

[등록번호/일자)]

2742309 (2024.12.09)

 

[요약]

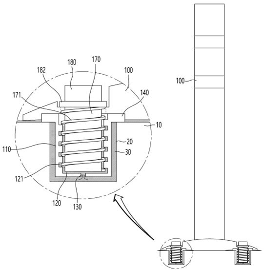
본 발명의 일 측면에 따르면, 도로에 천공된 지지홀에 삽입되어 접착제에 의해 본딩되고, 길이 방향을 따라 체결홈이 형성되고, 합성 수지를 포함하는 재질로 이루어지는 지지 유닛, 지지 유닛을 커버하도록 배치되는 도로 안전 시설물을 도로에 설치하기 위하여, 도로 안전 시설물을 관통하고 체결홈에 삽입되어 지지 유닛과 결합되고, 합성 수지를 포함하는 재질로 이루어지는 결합 유닛, 및 지지 유닛의 체결홈 내부로 접착제가 유입 가능하도록 지지 유닛에 형성되는 접착제 유도 통로를 포함하는 도로 안전 시설물 결합 장치가 제공된다.

 

[대표도면]                   

image.png

 

[상세보기]

상담신청

의뢰인의 권익을 위해 항상 노력하겠습니다.

*성함
*연락처
*상담내용
사진 및 파일 첨부

여기에 파일을 끌어 놓거나 왼쪽의 버튼을 클릭하세요.

파일 용량 제한 : 0MB (허용 확장자 : *.*)

0개 첨부 됨 ( / )
상담내용을 입력해 주세요.