특허
공기 재생 기능을 갖는 언더 인덕션 시스템(under induction system with air recycling fucntion)
- 날짜 : 2026.01.16 10:46
[발명의 명칭]
공기 재생 기능을 갖는 언더 인덕션 시스템(under induction system with air recycling fucntion)
[출원번호/일자)]
2023-0036775 (2023.03.21)
[등록번호/일자)]
2656194 (2024.04.04)
[요약]
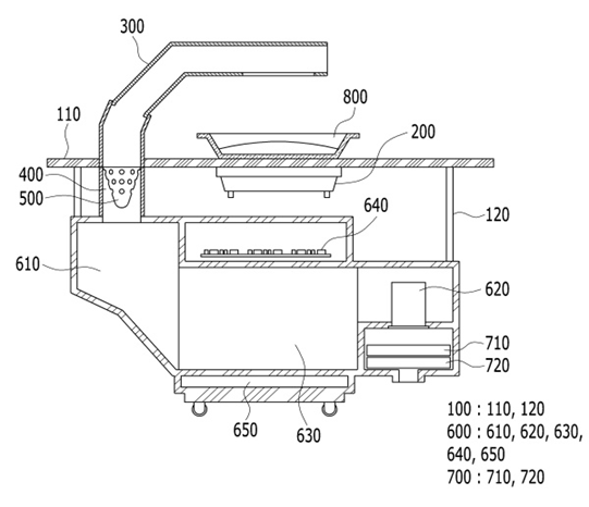
본 발명의 일 실시예에 따른 공기 재생 기능을 갖는 언더 인덕션 시스템은 자기장 투과용 상판이 결합되는 테이블, 상판의 하측에 고정 설치되어 상판의 상측에 위치하는 전용용기를 가열시키는 인덕션유닛, 테이블에 설치되며 전용용기에서 음식물이 가열될 때 발생하는 기체를 흡입하는 후드부, 일단이 후드부와 연통되며 흡입되는 기체의 이동 통로를 제공하는 배관부, 배관부 내부에 배치되며 기체에 포함되는 기름을 걸러내는 기름분리부 및 배관부의 타단과 연통되며 일측에서 유입되는 기체에 포함된 이물질을 분리 제거한 후 타측으로 재생 기체를 배출하는 공기재생유닛를 포함한다.
[대표도면]
