성공사례
 

[발명의 명칭]

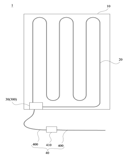
탄소 열선을 적용한 발열매트(the heating mat with carbon heating wire)

[출원번호/일자)]

2023-0050200 (2023.04.17)

[등록번호/일자)]

2599688 (2023.11.03)

 

[요약]

본 발명은 매트부, 매트부에 배치되며, 설치경로를 따라 연장된 발열선, 매트부에 배치되며, 발열선에 연결된 커넥터, 및 커넥터에 결합되어, 발열선에 전기를 공급하는 전기공급부를 포함하며, 발열선은, 탄소섬유발열체, 및 탄소섬유발열체의 단부에 배치된 커넥터연결부를 포함하여, 전자파 유해성을 줄이고, 에너지 효율적인 히팅이 가능하다.

 

[대표도면]

image.png

 

[상세보기]

상담신청

의뢰인의 권익을 위해 항상 노력하겠습니다.

*성함
*연락처
*상담내용
사진 및 파일 첨부

여기에 파일을 끌어 놓거나 왼쪽의 버튼을 클릭하세요.

파일 용량 제한 : 0MB (허용 확장자 : *.*)

0개 첨부 됨 ( / )
상담내용을 입력해 주세요.