성공사례
 

[발명의 명칭]

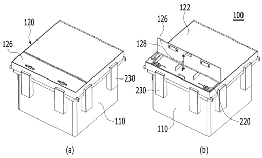
지하 매설식 소방함(hydrant box for laying undurground)

[출원번호/일자)]

2023-0053400 (2023.04.24)

[등록번호/일자)]

2619622 (2023.12.26)

 

[요약]

지하 매설식 소방함이 개시된다. 본 발명의 일 측면에 따르면, 지중에 설치 가능하며 일면이 개방된 내부 공간이 형성되는 함체, 함체의 일면을 개폐 가능하게 커버하도록 함체에 결합되는 도어 유닛, 함체의 외부로부터 함체의 내부로 소화수를 공급하는 소화수 공급 유닛, 소화수 공급 유닛과 연결되어 소화수를 제공받아 분사하는 소방 호스, 함체의 내부 공간에 설치되며 외주면을 따라 소방 호스가 감기는 릴 유닛 및 릴 유닛을 회전시켜 릴 유닛에서 풀린 상태의 소방 호스를 릴 유닛에 감는 와인딩 유닛을 포함하는 지하 매설식 소방함이 제공된다.

 

[대표도면]

image.png

 

[상세보기]

상담신청

의뢰인의 권익을 위해 항상 노력하겠습니다.

*성함
*연락처
*상담내용
사진 및 파일 첨부

여기에 파일을 끌어 놓거나 왼쪽의 버튼을 클릭하세요.

파일 용량 제한 : 0MB (허용 확장자 : *.*)

0개 첨부 됨 ( / )
상담내용을 입력해 주세요.