[발명의 명칭]
암대 설치용 슬리브를 구비한 지주(post with sleeve for arm bar installation)
[출원번호/일자)]
2023-0075265 (2023.06.13)
[등록번호/일자)]
2651762 (2024.03.22)
[요약]
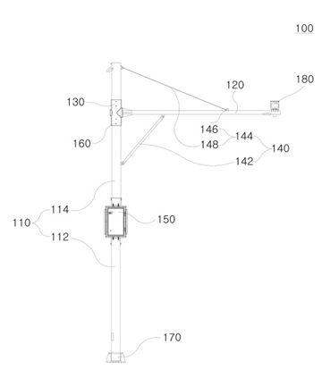
암대 설치용 슬리브를 구비한 지주가 개시된다. 본 발명의 일 측면에 따르면, 지면에 설치되는 기둥, 기둥에 설치되는 암대 유닛, 기둥에 삽입되어 결합되며 일측에 암대 유닛이 결합되어 암대 유닛을 기둥에 설치하는 암대 설치용 슬리브 및 암대 유닛에 설치되는 CCTV용 브라켓을 포함하고, 암대 설치용 슬리브는 기둥에 삽입 가능하도록 내부에 삽입홀이 형성되는 바디부, 바디부의 일측에 형성되어 암대 유닛과 결합되는 결합부 및 CCTV용 브라켓으로 연결되는 전선을 점검 가능하도록 바디부의 타측에 형성되는 점검부를 포함하는, 암대 설치용 슬리브를 구비한 지주가 제공된다.
[대표도면]
