성공사례
 

[발명의 명칭]

건축구조물 만들기용 학습교구(the learning tools for structures)

[출원번호/일자)]

2023-0083499 (2023.06.28)

[등록번호/일자)]

2669804 (2024.05.23)

 

[요약]

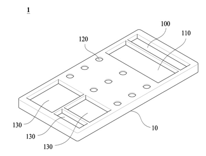
본 발명은 베이스판을 포함하는 건축구조물 만들기용 학습교구에 있어서, 베이스판은, 제1식자재를 수용하는 제1수용홈, 제2식자재를 수용하는 제2수용홈, 및 제1식자재 및 제2식자재 중 적어도 하나를 수용하는 복수의 제3수용홈을 포함하여, 건축구조물에 대한 이해도를 높이고, 안전하게 건축구조물을 만들 수 있다.

 

[대표도면]

image.png

 

[상세보기]

상담신청

의뢰인의 권익을 위해 항상 노력하겠습니다.

*성함
*연락처
*상담내용
사진 및 파일 첨부

여기에 파일을 끌어 놓거나 왼쪽의 버튼을 클릭하세요.

파일 용량 제한 : 0MB (허용 확장자 : *.*)

0개 첨부 됨 ( / )
상담내용을 입력해 주세요.