[발명의 명칭]
투척 방지용 가변형 그물망 장치(variable net device for preventing throwing)
[출원번호/일자)]
2023-0133969 (2023.10.10)
[등록번호/일자)]
2686523 (2024.07.16)
[요약]
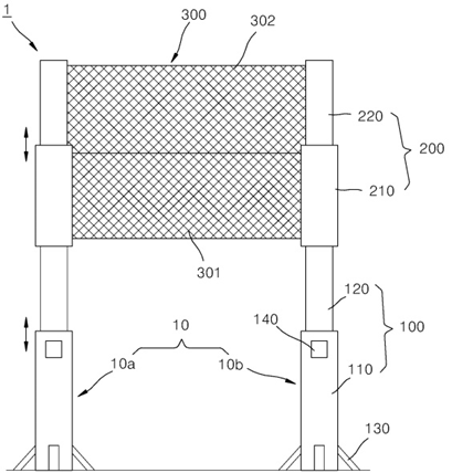
본 발명은 투척 방지용 가변형 그물망 장치에 관한 것으로, 하부 포스트(post); 하부 포스트의 상단에 고정되고, 길이 방향으로 확장 및 축소 가능하며, 일측면에 길이방향으로 출입슬롯(slot)을 갖는 상부 포스트; 상부 포스트의 내부에 설치되어 모터에 의해 회전할 수 있고, 상부 포스트의 확장 및 축소에 따라 축방향으로 확장 및 축소되며, 외주면에 길이 방향으로 확장 및 축소 가능한 제1 채널 레일(channel rail)을 축방향으로 갖는 감기축; 및 제1 채널 레일에 한쪽 측단이 고정되어 감기축에 감기고 풀릴 수 있으며, 다른 쪽 측단은 출입슬롯을 통해 외부로 인출되고, 상부 포스트의 확장 및 축소에 따라 제1 채널 레일에 안내되어 상하로 확장 또는 접힐 수 있는 그물망 유닛(net unit);을 포함하는 것을 특징으로 한다.
[대표도면]
