[발명의 명칭]
휴대용 차량 도주 방지 볼라드 장치(portable vehicle escape prevention bollard device)
[출원번호/일자)]
2023-0133983 (2023.10.10)
[등록번호/일자)]
2654410 (2024.03.31)
[요약]
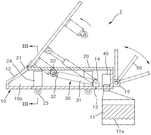
본 발명은 휴대용 차량 도주 방지 볼라드 장치에 관한 것으로, 상면이 개구되고, 바닥판의 양측에 바퀴출입슬롯(slot)이 전후 방향으로 길게 형성된 상자 모양의 바디(body); 이 바디의 개구를 차폐하고, 전단이 바디에 힌지(hinge) 연결되어 상방으로 회동 가능한 볼라드 부재; 이 볼라드 부재의 하면에 설치되고, 바퀴출입슬롯을 통해 바디의 하방으로 돌출하는 복수의 바퀴; 및 바디의 내부에 구비되고, 볼라드 부재를 상방으로 회동시키는 액츄에이터(actuator);를 포함하는 것을 특징으로 한다.
[대표도면]
