특허
주방상판 매립형 조리도구 살균케어박스(concealed type drying and sterilizer for cooking instruments)
- 날짜 : 2026.01.16 11:04
[발명의 명칭]
주방상판 매립형 조리도구 살균케어박스(concealed type drying and sterilizer for cooking instruments)
[출원번호/일자)]
2023-0137366 (2023.10.16)
[등록번호/일자)]
2646397 (2024.03.06)
[요약]
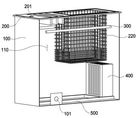
본 발명은 외부와 차폐되는 살균건조공간을 형성하고 상부에 개구면이 형성되며 주방 상판의 내부에 매립된 형태로 설치되는 프레임부와; 상기 개구면에 안착되어 복수의 조리 도구를 거치할 수 있도록 하며, 거치되어야 할 상기 조리도구의 종류에 따라 선택적으로 변경할 수 있도록 탈부착 가능하게 설치되는 거치부재와; 상기 프레임부의 상기 살균건조공간 일측에 설치되어 상기 조리도구를 살균 처리하는 복수의 자외선 램프와; 상기 프레임부의 상기 살균건조공간의 타측에 설치되어 상기 조리도구를 건조 처리하는 열풍건조기를; 포함한 주방상판 매립형 조리도구 살균케어박스를 제공함으로써, 주방상판의 내측에 매립되게 설치되어 사용이 편리하면서도 정돈된 주방을 유지할 수 있도록 하고 주방의 공간활용도를 높일 수 있도록 하며, 자외선 살균 기능 뿐만 아니라 열풍 건조 기능을 제공하여 조리도구를 위생적으로 관리할 수 있는 효과가 있다.
[대표도면]
