[발명의 명칭]
벨트 조임형 다용도 지지 장치(belt tightening type multi-purpose support device)
[출원번호/일자)]
2023-0159238 (2023.11.16)
[등록번호/일자)]
2722980 (2024.10.23)
[요약]
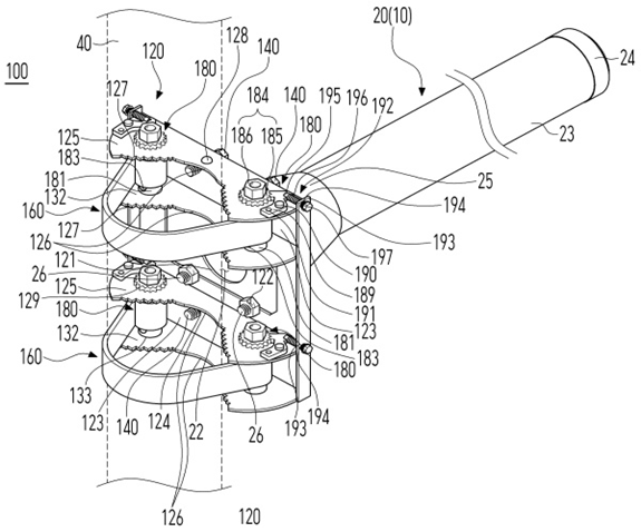
벨트 조임형 다용도 지지 장치가 개시된다. 본 발명의 일 측면에 따르면, 대상물과 결합되는 바디 유닛, 바디 유닛과 결합되어 바디 유닛과 함께 지주를 감싸는 벨트 유닛, 및 벨트 유닛 및 바디 유닛과 결합되어 벨트 유닛을 바디 유닛과 결합시키고 바디 유닛과 결합된 대상물이 지주에 지지되도록 벨트 유닛을 조이는 것이 가능한 제어 유닛을 포함하는 지지 장치가 제공된다.
[대표도면]
