특허
태양광 모듈 조립체 및 이의 시공방법(solar panel module assembly and constructing method thereof)
- 날짜 : 2026.01.16 11:09
[발명의 명칭]
태양광 모듈 조립체 및 이의 시공방법(solar panel module assembly and constructing method thereof)
[출원번호/일자)]
2024-0000037 (2024.01.02)
[등록번호/일자)]
2720094 (2024.10.16)
[요약]
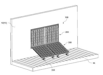
본 발명은 태양광 모듈에 관한 것으로서, 보다 구체적으로는 건물일체형 태양광 모듈에 관한 것이다. 본 발명의 실시예에 따른 태양광 모듈 조립체의 시공 방법은, 건물에 형성되는 개구에 프레임을 장착하는 단계, 제1 태양광 모듈의 기 설정된 위치에 제1 체결부재를 장착하는 단계, 상기 제1 체결부재를 상기 프레임에 형성되는 제1 장착홀의 제1 부분에 삽입하는 단계 및 상기 제1 체결부재가 상기 제1 부분에서, 상기 제1 부분으로부터 연장하는 제2 부분으로 이동하도록 상기 제1 태양광 모듈을 이동시키는 단계를 포함한다. 일 구현예에서, 상기 제2 부분은 상기 제1 부분보다 작은 단면을 포함한다.
[대표도면]
