[발명의 명칭]
케겔 운동 및 골반 교정 기능을 갖는 의자형 마사지 장치(chair type massage apparatus with kegel exercise and pelvis correction function)
[출원번호/일자)]
2024-0001381 (2024.01.04)
[등록번호/일자)]
2754740 (2025.01.09)
[요약]
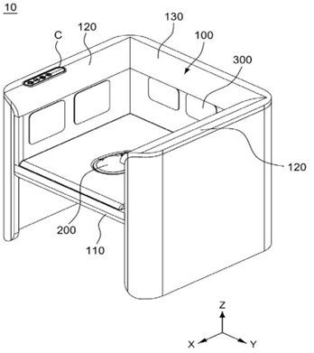
케겔 운동 및 골반 교정 기능을 갖는 의자형 마사지 장치가 개시된다. 본 발명의 일 측면에 따르면, 사용자가 착석하는 좌판부, 상기 좌판부의 양측 모서리를 따라 배치되는 한 쌍의 팔받침부, 및 상기 좌판부의 후방 모서리를 따라 배치되는 등받침부를 포함하는 의자 프레임; 상기 좌판부의 상면 중앙부에 형성된 통공에 상향 돌출되게 배치되어 진동을 생성하는 케겔 운동 모듈; 및 상기 한 쌍의 팔받침부의 서로 마주보는 측면과 상기 등받침부의 전면 상에 각각 배치되어 에어 공급에 따라 팽창하여 상기 좌판부에 착석한 사용자의 둔부를 가압하는 복수의 에어백을 포함하는 케겔 운동 및 골반 교정 기능을 갖는 의자형 마사지 장치가 제공될 수 있다.
[대표도면]
