[발명의 명칭]
지하 매설식 소방함(hydrant box for laying undurground)
[출원번호/일자)]
2024-0008945 (2024.01.19)
[등록번호/일자)]
2825891 (2025.06.23)
[요약]
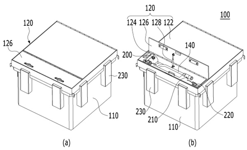
지하 매설식 소방함이 개시된다. 본 발명의 일 측면에 따르면, 지중에 설치 가능하며 일면이 개방된 내부 공간이 형성되는 함체, 함체의 일면을 개폐 가능하게 커버하도록 함체에 결합되는 도어 유닛, 함체의 외부로부터 함체의 내부로 소화수를 공급하는 소화수 공급 유닛, 소화수 공급 유닛과 연결되어 소화수를 제공받아 분사하는 소방 호스 및 함체의 내부 공간에 설치되며 외주면을 따라 소방 호스가 감기는 릴 유닛을 포함하고, 도어 유닛은 함체에 결합되어 도어 본체, 소방 호스가 함체의 내부 공간에서 출입 가능하도록 도어 본체에 형성되는 호스 출입구 및 호스 출입구를 커버하기 위해 도어 본체에 결합되는 보조 도어를 포함하는 지하 매설식 소방함이 제공된다.
[대표도면]
