성공사례
 

[발명의 명칭]

각도 자동 제어형 판재 절곡 장치(angle automatic control type bending device for metal plate)

[출원번호/일자)]

2024-0059175 (2024.05.03)

[등록번호/일자)]

2707117 (2024.09.11)

 

[요약]

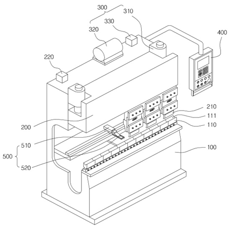
본 발명은 작업장의 바닥면에 직립되게 설치되며 상면 일측에 절곡 대상이 되는 금속 판재의 판면이 삽입되어 절곡이 이루어지도록 하는 절곡홈이 형성된 다이가 구비된 하부 금형과; 상기 하부 금형의 상부에 상기 하부 금형의 높이 방향을 따라 승하강 이동 가능하게 구비되며 상기 다이에 형성된 절곡홈에 일정 깊이로 삽입되어 상기 금속 판재의 판면을 가압하여 절곡시키는 펀치가 구비된 상부 금형과; 상기 하부 금형에 대하여 상기 상부 금형이 승하강 이동 가능하도록 상기 상부 금형을 구동시키는 구동부와; 상기 상부 금형의 승하강 정도와 상기 다이에 형성된 절곡홈의 형상 및 상기 펀치의 형상에 대한 정보를 입력하여 상기 금속 판재의 절곡 작업이 자동화로 진행될 수 있도록 상기 구동부를 제어하는 컨트롤부를; 포함한 판재 절곡 장치를 제공함으로써, 사용감이 있는 중고 절곡 장치를 자동화 방식으로 동작이 가능하도록 재제조하여 자동화 방식에 의하여 판재를 신속하고 정확하게 절곡 작업이 가능하도록 함으로써 절곡 장치의 신뢰도를 향상시키고 절곡 작업의 편의성를 제고할 수 있는 효과가 있다.

 

[대표도면]

image.png

 

[상세보기]

상담신청

의뢰인의 권익을 위해 항상 노력하겠습니다.

*성함
*연락처
*상담내용
사진 및 파일 첨부

여기에 파일을 끌어 놓거나 왼쪽의 버튼을 클릭하세요.

파일 용량 제한 : 0MB (허용 확장자 : *.*)

0개 첨부 됨 ( / )
상담내용을 입력해 주세요.