성공사례
 

[발명의 명칭]

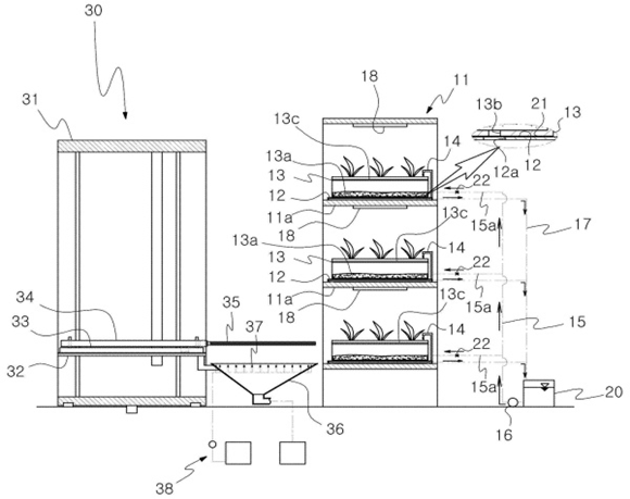
스마트팜용 식물재배기(plant cultivation apparatus for smart palm)

[출원번호/일자)]

2024-0093643 (2024.07.16)

[등록번호/일자)]

2903880 (2025.12.19)

 

[요약]

본 발명은 배지에 정확한 양의 약액을 공급할 수 있으며, 배지의 교체가 용이한 새로운 구조의 스마트팜용 식물재배기에 관한 것이다. 본 발명에 따른 스마트팜용 식물재배기는 상기 배수통체(12)의 상면에 구비되어 각각의 재배통체(13)의 하측을 지지하여 재배통체(13)의 무게를 측정함으로써 재배통체(13)에 공급된 약액의 무게를 측정하는 무게측정수단(21)과, 상기 분기부(15a)에 구비되며 상기 제어수단(19)에 의해 작동제어되어 상기 분기부(15a)를 통해 각각의 재배통체(13)로 공급되는 약액의 흐름을 제어하는 공급제어밸브(22)가 더 구비되고, 상기 제어수단(19)은 상기 무게측정수단(21)의 신호를 수신하여 각각의 재배통체(13)의 내부에 남아있는 약액의 무게를 측정하고, 측정된 약액의 무게가 미리 설정된 무게를 초과할 경우, 상기 공급제어밸브(22)를 선택적으로 제어하여 상기 분기부(15a)를 통해 각각의 재배통체(13)로 공급되는 약액의 흐름을 정지시키도록 함으로써, 재배통체(13)에 저장된 배지(13a)에 항상 적절한 양의 약액이 공급되도록 할 수 있는 장점이 있다.

 

[대표도면]

image.png

 

[상세보기]

상담신청

의뢰인의 권익을 위해 항상 노력하겠습니다.

*성함
*연락처
*상담내용
사진 및 파일 첨부

여기에 파일을 끌어 놓거나 왼쪽의 버튼을 클릭하세요.

파일 용량 제한 : 0MB (허용 확장자 : *.*)

0개 첨부 됨 ( / )
상담내용을 입력해 주세요.