[발명의 명칭]
오염물질 흡착 장치(the wet scrubber)
[출원번호/일자)]
2024-0104860 (2024.08.06)
[등록번호/일자)]
2807446 (2025.05.09)
[요약]
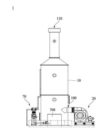
본 발명은 하부유입구와 상부유출구를 가지는 챔버, 하부유입구로 가스를 공급하는 가스공급부, 가스공급부로 유입되는 가스를 냉각하는 가스냉각부, 챔버의 내부에 배치되며, 가스에 포함된 오염물질을 흡착하는 폴링모듈, 챔버의 내부에 배치되며, 폴링모듈을 향해 세정액을 분사하는 분사모듈, 및 챔버의 내부에 배치된 데미스터를 포함하며, 폴링모듈은, 하부폴링부와 하부폴링부의 상부에 배치된 상부폴링부를 포함하고, 분사모듈은, 하부폴링부와 상부폴링부의 사이에 배치된 하부분사부, 및 상부폴링부의 상부에 배치된 상부분사부를 포함하여, 가스 또는 가스에 포함된 오염물질을 흡착, 세정할 수 있다.
[대표도면]
