성공사례
 

[발명의 명칭]

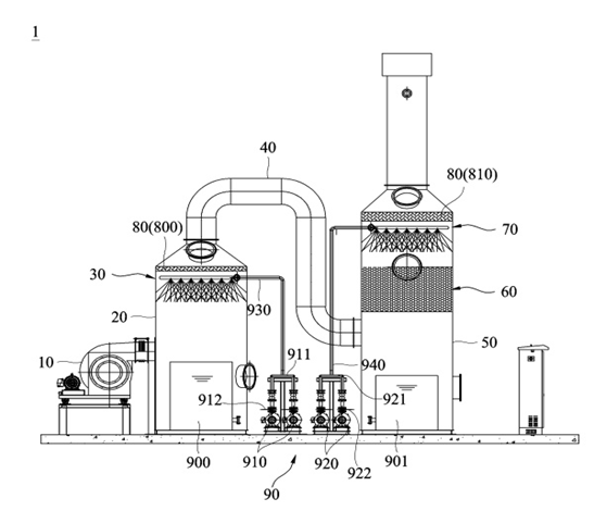
가스 세정 장치(the wet scrubber)

[출원번호/일자)]

2024-0104851 (2024.08.06)

[등록번호/일자)]

2807448 (2025.05.09)

 

[요약]

본 발명은 가스를 공급하는 가스공급부, 가스공급부로부터 가스를 공급받는 제1챔버, 제1챔버의 내부에 배치된 제1분사부, 제1챔버의 유출구에 연결된 가이드덕트, 가이드덕트에 연결된 유입구를 가지는 제2챔버, 제2챔버의 내부에 배치되며, 가스에 포함된 오염물질을 흡착하는 폴링부, 및 폴링부의 상부에 배치된 제2분사부를 포함하여, 가스에 포함된 오염물질 등의 세정 성능을 향상시킬 수 있다.

 

[대표도면]

image.png

 

[상세보기]

상담신청

의뢰인의 권익을 위해 항상 노력하겠습니다.

*성함
*연락처
*상담내용
사진 및 파일 첨부

여기에 파일을 끌어 놓거나 왼쪽의 버튼을 클릭하세요.

파일 용량 제한 : 0MB (허용 확장자 : *.*)

0개 첨부 됨 ( / )
상담내용을 입력해 주세요.